【導讀】在智慧城市和工業 4.0 環境下,具有無線控制功能的 LED 照明系統的使用越來越廣泛,因為它帶來了諸多好處,包括降低能源成本(相應地減少碳排放)、照明水平可控,以及因 LED 燈具的更高可靠性和更長使用壽命而降低維護成本。為了實現最佳效果,這些 LED 照明系統需要具有各種操作模式、傳感和保護功能的照明控制器,還需要高效率和 90 至 300 伏交流電 (VAC) 的寬工作電壓范圍,以及高功率因數 (PF) 和低總諧波失真 (THD)。
在智慧城市和工業 4.0 環境下,具有無線控制功能的 LED 照明系統的使用越來越廣泛,因為它帶來了諸多好處,包括降低能源成本(相應地減少碳排放)、照明水平可控,以及因 LED 燈具的更高可靠性和更長使用壽命而降低維護成本。為了實現最佳效果,這些 LED 照明系統需要具有各種操作模式、傳感和保護功能的照明控制器,還需要高效率和 90 至 300 伏交流電 (VAC) 的寬工作電壓范圍,以及高功率因數 (PF) 和低總諧波失真 (THD)。此外,完整配置系統還需要微控制器 (MCU)、數據集中器和無線收發器。從頭開始設計無線 LED 照明控制系統是一項多學科的任務,需要承擔很大的風險,并可能延遲上市時間。
作為替代方法,設計人員可以使用預制的聯網 LED 照明控制開發平臺。這些平臺具有高能效、高 PF,以及全面的無線控制功能(開/關、調光和其他模式)和多個獨立控制的 LED 通道,提供最大的設計靈活性。此類平臺包括支持低功耗藍牙 (BLE)、Zigbee 和 6LoWPAN 等協議的無線通信模塊。此外,開發環境也支持這些平臺,包括可定制固件、Free RTOS 和各種用例。
本文首先回顧了基本的 LED 操作和燈具結構,以及衡量 LED 和燈具能效的指標。然后討論了在智慧城市和工業 4.0 應用中使用分流器來最大限度提高燈具的可靠性和性能。最后,本文介紹了 STMicroelectronics 和 onsemi 的預制互聯 LED 照明驅動和控制開發平臺及相關組件,以及設計和部署方面的考慮因素。
智能 LED 照明控制主要是控制每個燈串的 LED 之間的交互,以優化燈具性能。它還包含智能電源轉換,并擴展了功能以對多個燈具進行無線控制,包括硬件和軟件,從而最大限度地提高街道照明和工業照明網絡的性能。
典型的 LED 燈具包括多個串聯在一個或多個燈串中的 LED。每個 LED 的驅動電壓約為 3.5 V。一個燈串通常包含 10 至 30 個 LED,工作電壓為 40 至 100 V,電流約為 0.35 至 1.0 A,具體取決于各個 LED 的亮度(圖 1)。
圖 1:用于智能燈具的兩串各 16 個 LED 的燈串。(圖片來源:Onsemi)
光源的亮度以流明 (lm) 為單位,其衡量人眼的視亮度,并考慮到眼睛對各種波長的可見光的敏感性。光源產生亮度的效率稱為發光效率,測量單位為 lm/W。與其他常見的照明技術相比,LED 具有更高的發光效率。然而,并非所有 LED 都具有相同的發光效率,有些 LED 的發光效率明顯高于其他 LED。此外,如果用更大的電流驅動,一個特定的 LED 可以產生更多的光。
LED 比其他照明技術更可靠,但它們并不完美。LED 可能會出現故障,特別是在高性能燈具中由大電流驅動時,例如那些用于街道照明和工業照明的 LED。LED 故障可能是短路或開路。如果燈串中的一個 LED 發生短路故障,該 LED 會變黑,但燈串中的其余 LED 繼續工作。電流繼續流經短路的 LED,使其加熱到可以成為開路的程度,導致整個燈串變暗。
分流 LED
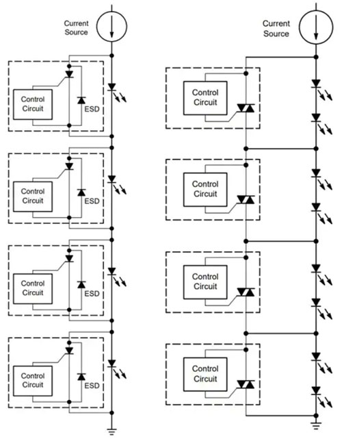
LED 燈具設計師面臨著在更小的燈具中提供更高亮度的挑戰。這往往需要 LED 在較高的溫度下長期運行,可能導致 LED 故障。尤其是預計工作壽命長達 15 年的路燈燈具。旁路分流器有助于滿足對更高工作溫度和延長壽命的矛盾要求。當一個 LED 在開路狀態下發生故障時,分流器會將該 LED 旁路,保持燈串正常運行,因此燈串不會變暗,只有發生故障的 LED 變暗(圖 2)。
圖 2:如果沒有旁路分流器,單個 LED 的故障會導致整個燈串失效(左)。使用旁路分流器,只有故障的 LED 變暗,而燈串中的其余 LED 繼續工作(右)。(圖片來源:Onsemi)
根據燈具設計的需要,分流器可用于繞過一個或兩個 LED(圖 3)。如果一個 LED 發生故障,繞過每個 LED 可實現最小的亮度下降,而繞過兩個 LED 可以將分流器的數量減少一半,適用于對成本更敏感的解決方案。例如,onsemi 的 NUD4700SNT1G 可用于旁路燈串中的單個 LED,如果 LED 恢復工作或被更換,該分流器將自動復位。STMicroelectronics 的 LBP01-0810B 可以旁路 1 個或 2 個LED,提高了設計靈活性并減少了零件數量。LBP01-0810B 還提供針對浪涌的過壓保護,符合 IEC 61000-4-2 和 IEC 61000-4-5 標準。
圖 3:可用于旁路 1 個(左)或 2 個(右)LED 的 LED 分流器(虛線框內)可用。(圖片來源:Onsemi)
智能街道照明
智能街道照明系統的設計人員可以借助 STMicroelectronics 的 STEVAL-LLL006V1 板來評估大功率 LED 照明的選擇(圖 4)。集成的 HVLED001A LED 照明控制器包括各種工作模式、傳感和保護機制,并使用 STP21N90K5 MOSFET 構建了一個智能而高效的電源轉換器。該 LED 驅動板使用 VIPER012LSTR 離線高壓轉換器 IC,提供 60 至 110 V 直流電輸出,恒定電流為 0.7 A。為滿足智能街道照明應用的需要,該驅動器的輸入范圍為 90 至 300VAC,PF 值超過 0.97,THD 低于 15%。嵌入式 SPSGRFC 亞千兆赫 (GHz) 收發器模塊可用于接收開、關和調光命令,并將其發送到集成的 STM32L071KZ 微控制器。該收發器支持五級模擬調光。
圖 4:STEVAL-LLL006V1 LED 照明開發板是集電源管理和無線連接于一體的平臺的組成部分。(圖片來源:STMicroelectronics)
開發工具
為了加快開發進程并突出 STEVAL-LLL006V1 評估板的功能,還提供了數據集中器單元 (DCU) 和 Android 移動應用程序。DCU 是在 NUCLEO-F401RE 平臺上構建的集成評估環境。它包含一塊 X-NUCLEO-IDS01A4 板,用于與 STEVAL-LLL006V1 進行亞千兆赫通信,還包含一塊 X-NUCLEO-IDB05A2 板,用于與移動設備進行藍牙通信。STMicroelectronics 還提供 6LoWPAN 智能街道照明移動應用,可用于組建智能街道照明控制器網,并評估網絡功能。
工業 LED 照明
互聯的工業 LED 照明解決方案可以使用 onsemi 的 LIGHTING-1-GEVK 互聯照明平臺進行原型設計。該開發平臺具有無線控制功能,可選擇使用離線 AC/DC 電源或可選以太網電源 (PoE)、LED 模塊和 LED 驅動模塊,以及將所有模塊連接在一起的 BLE 連接模塊。可用的控制選項包括使用 onsemi 的 RSL10 Sense and Control 移動應用或網絡客戶端。該開發平臺包括 Free RTOS、帶有可定制固件的 CMSIS-Pack 和幾個用例,以開始探索使用互聯工業 LED 照明解決方案。
基礎的 LIGHTING-1-GEVK 套件包括一個雙 LED 驅動器、帶有兩個 LED 燈串的 LED 板、一個 AC/DC 電源以及一個 BLE 通信模塊(圖 5)。另有一個 PoE 電源模塊,可提供高達 90 W 的電力。套件中各種板的一些關鍵規格包括:
· 雙 LED 驅動器:包括兩個 FL7760 LED 驅動器,每個驅動器提供高達 25 W 的功率,效率高達 96%;4,000 步調光,可調低至 0.6%;遙測數據,包括每個 LED 驅動器的電流和電壓測量;以及一個可插拔 MCU 模塊的接頭,支持無線連接。
· LED 板:雙獨立通道,每個通道有 16 個 LED。一個通道的 LED 額定亮度為 121 lm,另一個通道的 LED 額定亮度為 95 lm,總可用亮度為 7,000 lm。
· AC/DC 電源:包括兩個帶 PFC 的 FL7740 初級側調節反激式控制器,在 90 至 270 VAC的輸入范圍內工作,在 55 V 時輸出 70 W 的電力,為 LED 驅動板供電,PF 值超過 0.99,效率超過 91%。
· BLE 模塊:互聯照明平臺使用三種 BLE 服務;照明控制服務由連接的設備用于遠程讀取和更改 LED 的狀態;遙測服務由連接的設備用于監測 LED 驅動器中的電壓和電流;PoE 供電服務提供關于 PoE 供電器對設備施加的 PoE 功率限制的信息。
圖 5:基礎開發套件包括一個雙 LED 驅動器、兩個 LED 燈串、AC/DC 電源和一個 BLE 連接模塊。(圖片來源:Onsemi)
擴展板
LIGHTING-1-GEVK 套件有兩塊擴展板,即 BLE-SWITCH001-GEVB 能量收集 BLE 開關,以及 MULTI-SENSE-GEVB 多傳感器板(圖 6)。LED 的亮度可通過 BLE 開關控制。按住開關時,亮度增加。松開開關或達到最大亮度時,光強度保持不變。再按一次開關,亮度就會降低。多傳感器板支持包括環境光傳感器、環境傳感器和/或慣性運動傳感器的系統原型開發。
圖 6:LIGHTING-1-GEVK 套件有兩個擴展板可用,一個是 BLE 開關,一個是多傳感器板(頂部綠框)。(圖片來源:Onsemi)
設計和部署選項
LED 路燈和工業照明燈具引發了照明網絡設計和部署的重新思考。與通常被其取代的技術不同,LED 可調光,因而為設計智慧城市和智能工業 4.0 設施創造了機會,可整合各種因素,如交通/使用模式、當日時間,甚至還有一套傳感器,以根據需要優化照明水平。
在智慧城市中,無線網狀網絡是自然的選擇,而在工業 4.0 設施中,可以通過無線或以太網連接實現控制。以太網的好處是既能提供電力,又能實現通信。在這兩種情況下,溫度、濕度、甚至攝像傳感器都可以集成到燈具中,以擴展其功能。此外,還可以監測燈具本身的運行狀況,如內部溫度、LED 短路或開路以及其他因素,以幫助安排預防性維護并降低運營成本。
總結
如上所述,設計可靠高能效的互聯 LED 照明系統,要從燈具的設計開始。選擇的 LED 需要能夠提供最佳亮度水平,而使用分流器可以顯著提高燈具的可靠性和性能。在智慧城市和工業 4.0 設施中使用有線或無線連接的 LED 照明,除了減少能耗,還能夠降低持續的維護和運營成本。全面的開發平臺可以幫助加快智能互聯 LED 照明解決方案的設計和部署。
(來源:中電網,作者:Jeff Shepard)
免責聲明:本文為轉載文章,轉載此文目的在于傳遞更多信息,版權歸原作者所有。本文所用視頻、圖片、文字如涉及作品版權問題,請聯系小編進行處理。
推薦閱讀:
同步降壓式DC/DC高效率的奧秘:我們通過幾款產品解析,告訴你~


