中心議題:
- 雙向可控硅特點
- 雙向可控硅應用
- 雙向可控硅的安裝
解決方案:
- 雙向可控硅門極加正、負觸發脈沖都能使管子觸發導通,有四種觸發方式
- 應用:需定量掌握其主要參數,對其進行適當選用并采取相應措施以達到各參數的要求
- 雙向可控硅安裝方法有夾子壓接和螺栓固定兩種
引言
1958年,從美國通用電氣公司研制成功第一個工業用可控硅開始,電能的變換和控制從旋轉的變流機組、靜止的離子變流器進入以電力半導體器件組成的變流器時代??煽毓璺謫蜗蚩煽毓枧c雙向可控硅。單向可控硅一般用于彩電的過流、過壓保護電路。雙向可控硅一般用于交流調節電路,如調光臺燈及全自動洗衣機中的交流電源控制。
雙向可控硅是在普通可控硅的基礎上發展而成的,它不僅能代替兩只反極性并聯的可控硅,而且僅需一個觸發電路,是目前比較理想的交流開關器件,一直為家電行業中主要的功率控制器件。近幾年,隨著半導體技術的發展,大功率雙向可控硅不斷涌現,并廣泛應用在變流、變頻領域,可控硅應用技術日益成熟。本文主要探討廣泛應用于家電行業的雙向可控硅的設計及應用。
雙向可控硅特點
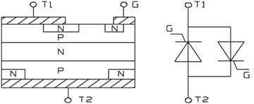
雙向可控硅可被認為是一對反并聯連接的普通可控硅的集成,工作原理與普通單向可控硅相同。圖1為雙向可控硅的基本結構及其等效電路,它有兩個主電極T1和T2,一個門極G,門極使器件在主電極的正反兩個方向均可觸發導通,所以雙向可控硅在第1和第3象限有對稱的伏安特性。雙向可控硅門極加正、負觸發脈沖都能使管子觸發導通,因此有四種觸發方式。

圖1 雙向可控硅結構及等效電路
雙向可控硅應用
為正常使用雙向可控硅,需定量掌握其主要參數,對雙向可控硅進行適當選用并采取相應措施以達到各參數的要求。
耐壓級別的選擇:通常把VDRM(斷態重復峰值電壓)和VRRM(反向重復峰值電壓)中較小的值標作該器件的額定電壓。選用時,額定電壓應為正常工作峰值電壓的2~3倍,作為允許的操作過電壓裕量。
電流的確定:由于雙向可控硅通常用在交流電路中,因此不用平均值而用有效值來表示它的額定電流值。由于可控硅的過載能力比一般電磁器件小,因而一般家電中選用可控硅的電流值為實際工作電流值的2~3倍。同時,可控硅承受斷態重復峰值電壓VDRM和反向重復峰值電壓VRRM時的峰值電流應小于器件規定的IDRM和IRRM。
通態(峰值)電壓VTM的選擇:它是可控硅通以規定倍數額定電流時的瞬態峰值壓降。為減少可控硅的熱損耗,應盡可能選擇VTM小的可控硅。
維持電流:IH是維持可控硅維持通態所必需的最小主電流,它與結溫有關,結溫越高,則IH越小。
電壓上升率的抵制:dv/dt指的是在關斷狀態下電壓的上升斜率,這是防止誤觸發的一個關鍵參數。此值超限將可能導致可控硅出現誤導通的現象。由于可控硅的制造工藝決定了A2與G之間會存在寄生電容,如圖2所示。我們知道dv/dt的變化在電容的兩端會出現等效電流,這個電流就會成為Ig,也就是出現了觸發電流,導致誤觸發。

圖2 雙向可控硅等效示意圖
切換電壓上升率dVCOM/dt。驅動高電抗性的負載時,負載電壓和電流的波形間通常發生實質性的相位移動。當負載電流過零時雙向可控硅發生切換,由于相位差電壓并不為零。這時雙向可控硅須立即阻斷該電壓。產生的切換電壓上升率(dVCOM/dt)若超過允許值,會迫使雙向可控硅回復導通狀態,因為載流子沒有充分的時間自結上撤出,如圖3所示。

圖3 切換時的電流及電壓變化
高dVCOM/dt承受能力受二個條件影響:
dICOM/dt—切換時負載電流下降率。dICOM/dt高,則dVCOM/dt承受能力下降。
結面溫度Tj越高,dVCOM/dt承受能力越下降。假如雙向可控硅的dVCOM/dt的允許值有可能被超過,為避免發生假觸發,可在T1 和T2 間裝置RC緩沖電路,以此限制電壓上升率。通常選用47~100Ω的能承受浪涌電流的碳膜電阻,0.01μF~0.47μF的電容,晶閘管關斷過程中主電流過零反向后迅速由反向峰值恢復至零電流,此過程可在元件兩端產生達正常工作峰值電壓5-6倍的尖峰電壓。一般建議在盡可能靠近元件本身的地方接上阻容吸收回路。
斷開狀態下電壓變化率dvD/dt。若截止的雙向可控硅上(或門極靈敏的閘流管)作用很高的電壓變化率,盡管不超過VDRM,電容性內部電流能產生足夠大的門極電流,并觸發器件導通。門極靈敏度隨溫度而升高。假如發生這樣的問題,T1 和T2 間(或陽極和陰極間)應該加上RC 緩沖電路,以限制dvD/dt。
電流上升率的抑制:電流上升率的影響主要表現在以下兩個方面:
①dIT/dt(導通時的電流上升率)—當雙向可控硅或閘流管在門極電流觸發下導通,門極臨近處立即導通,然后迅速擴展至整個有效面積。這遲后的時間有一個極限,即負載電流上升率的許可值。過高的dIT/dt可能導致局部燒毀,并使T1-T2 短路。假如過程中限制dIT/dt到一較低的值,雙向可控硅可能可以幸存。因此,假如雙向可控硅的VDRM在嚴重的、異常的電源瞬間過程中有可能被超出或導通時的dIT/dt有可能被超出,可在負載上串聯一個幾μH的不飽和(空心)電感。
②dICOM/dt (切換電流變化率) —導致高dICOM/dt值的因素是:高負載電流、高電網頻率(假設正弦波電流)或者非正弦波負載電流,它們引起的切換電流變化率超出最大的允許值,使雙向可控硅甚至不能支持50Hz 波形由零上升時不大的dV/dt,加入一幾mH的電感和負載串聯,可以限制dICOM/dt。
·為了解決高dv/dt及di/dt引起的問題,還可以使用Hi-Com 雙向可控硅,它和傳統的雙向可控硅的內部結構有差別。差別之一是內部的二個“閘流管”分隔得更好,減少了互相的影響。這帶來下列好處:
①高dVCOM/dt。能控制電抗性負載,在很多場合下不需要緩沖電路,保證無故障切換。這降低了元器件數量、底板尺寸和成本,還免去了緩沖電路的功率耗散。
②高dICOM/dt。切換高頻電流或非正弦波電流的性能大為改善,而不需要在負載上串聯電感,以限制dICOM/dt。
③高dvD/dt(斷開狀態下電壓變化率)。雙向可控硅在高溫下更為靈敏。高溫下,處于截止狀態時,容易因高dV/dt下的假觸發而導通。Hi-Com雙向可控硅減少了這種傾向。從而可以用在高溫電器,控制電阻性負載,例如廚房和取暖電器,而傳統的雙向可控硅則不能用。
[page]
門極參數的選用:
門極觸發電流—為了使可控硅可靠觸發,觸發電流Igt選擇25度時max值的α倍,α為門極觸發電流—結溫特性系數,查數據手冊可得,取特性曲線中最低工作溫度時的系數。若對器件工作環境溫度無特殊需要,通常α取大于1.5倍即可。
門極壓降—可以選擇Vgt 25度時max值的β倍。β為門極觸發電壓—結溫特性系數,查數據手冊可得,取特性曲線中最低工作溫度時的系數。若對器件工作環境溫度無特殊需要,通常β取1~1.2倍即可。
觸發電阻—Rg=(Vcc-Vgt)/Igt
觸發脈沖寬度—為了導通閘流管(或雙向可控硅),除了要門極電流≧IGT ,還要使負載電流達到≧IL(擎住電流),并按可能遇到的最低溫度考慮。因此,可取25度下可靠觸發可控硅的脈沖寬度Tgw的2倍以上。
在電子噪聲充斥的環境中,若干擾電壓超過觸發電壓VGT,并有足夠的門極電流,就會發生假觸發,導致雙向可控硅切換。第一條防線是降低臨近空間的雜波。門極接線越短越好,并確保門極驅動電路的共用返回線直接連接到TI 管腳(對閘流管是陰極)。若門極接線是硬線,可采用螺旋雙線,或干脆用屏蔽線,這些必要的措施都是為了降低雜波的吸收。為增加對電子噪聲的抵抗力,可在門極和T1 之間串入1kΩ或更小的電阻,以此降低門極的靈敏度。假如已采用高頻旁路電容,建議在該電容和門極間加入電阻,以降低通過門極的電容電流的峰值,減少雙向可控硅門極區域為過電流燒毀的可能。
結溫Tj的控制:為了長期可靠工作,應保證Rth j-a 足夠低,維持Tj不高于80%Tjmax ,其值相應于可能的最高環境溫度。
雙向可控硅的安裝
對負載小,或電流持續時間短(小于1 秒鐘)的雙向可控硅,可在自由空間工作。但大部分情況下,需要安裝在散熱器或散熱的支架上,為了減小熱阻,可控硅與散熱器間要涂上導熱硅脂。
雙向可控硅固定到散熱器的主要方法有三種,夾子壓接、螺栓固定和鉚接。前二種方法的安裝工具很容易取得。很多場合下,鉚接不是一種推薦的方法,本文不做介紹。
夾子壓接
這是推薦的方法,熱阻最小。夾子對器件的塑封施加壓力。這同樣適用于非絕緣封裝(SOT82 和SOT78 ) 和絕緣封裝( SOT186 F-pack 和更新的SOT186A X-pack)。注意,SOT78 就是TO220AB。
螺栓固定
SOT78 組件帶有M3 成套安裝零件,包括矩形墊圈,墊圈放在螺栓頭和接頭片之間。應該不對器件的塑料體施加任何力量。
安裝過程中,螺絲刀決不能對器件塑料體施加任何力量。
和接頭片接觸的散熱器表面應處理,保證平坦,10mm上允許偏差0.02mm。
安裝力矩(帶墊圈)應在0.55Nm 和0.8Nm 之間。
應避免使用自攻絲螺釘,因為擠壓可能導致安裝孔周圍的隆起,影響器件和散熱器之間的熱接觸。安裝力矩無法控制,也是這種安裝方法的缺點。
器件應首先機械固定,然后焊接引線。這可減少引線的不適當應力。
結語
在可控硅設計中,選用合適的參數以及與之相對應的軟硬件設計,用可控硅構成的變流裝置具有節約能源、成本低廉等特點,目前在工業中得到飛速的發展。
參考文獻:
[1] 傅永濤. 可控硅控制電路的設計保護[J]. 中國高新技術企業:46-56
[2] 陳振春. 雙向可控硅在電動機控制電路中的應用[J]. 南昌工程學院學報,2005,24(2):73-76
[3] 芮長穎. 可控硅觸發電路的設計[J]. 巢湖學院學報,2007,9(3):79-82
[4] 黃俊,王兆安編. 電力電子變流技術(第3版)[M]. 北京:機械工業出版社,2005
[5] 瑞薩科技公司. 硅可控開關元件與三端雙向可控硅開關元件(Rev.1). 2004
[6] Nick Ham. 閘流管和雙向可控硅-成功應用的十條黃金規則. 2002


